篠崎愛 公式ブログ - ハッピーバレンタイン(*ˊᗜˋ*)
ASCII.jp: 「Hack Day 2016」で篠崎愛さんが愛のチョコを発射!
篠崎愛×Saqoosha〜300名以上のクリエイターが集った「Hack Day 2016」
「愛のチョコバズーカー」dot by dot inc Saqoosha × 篠崎愛 - YouTube
メイキング映像「愛のチョコバズーカー」dot by dot inc Saqoosha × 篠崎愛 - YouTube
https://www.youtube.com/watch?v=bYCsR5QkTSI
https://www.youtube.com/watch?v=pgkZNPniMUI
っつーことで、もうだいぶん前の話になるけど Yahoo! JAPAN 主催の日本最大級ハッカソンイベント「Hack Day 2016」の PR 企画のひとつとして、dot by dot inc. と TASKO inc. とで、「愛のチョコバズーカ」なるものを制作しましたー。これは篠崎愛さんのダンスパフォーマンスをリアルタイムにモーションキャプチャして、その動きを解析して特定のアクションをしたら自動的にバズーカからチョコが発射される、っていうシステム。イベントが 2/14 でバレンタインだし投げキッスしたらくちびるがそのままチョコになって飛んでったらえんちゃう?っていうアイデアが発端。
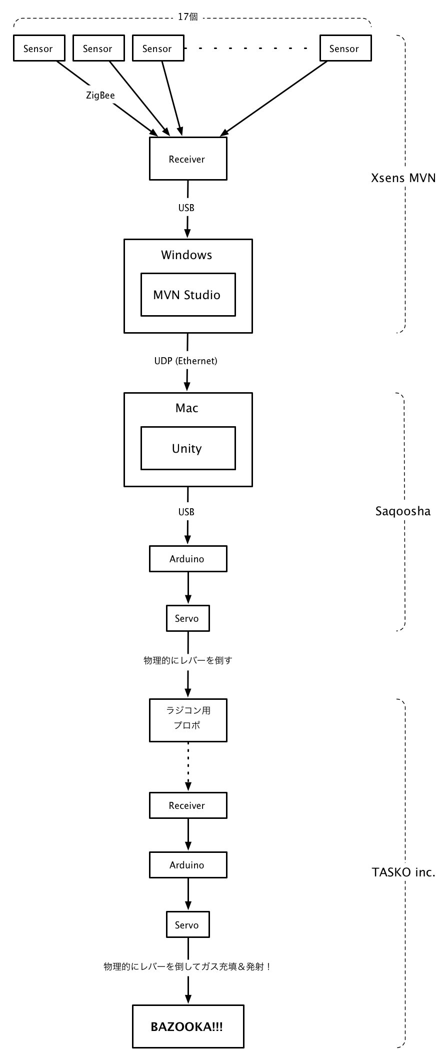
システム概要図はこんな感じ。
まずはダンスの動きを PC に取り込むためのモーションキャプチャシステム。今回は赤外線カメラなどを使わない、慣性センサータイプのモーションキャプチャシステム、Xsens MVN っていうのを使いました。(Skrillex の VJ のやつとか、最近だと Chemical Brothers のアレとかにも使われてる。)買うとめーっちゃ高いんだけど今回はゼロシーセブンさんに協力してもらってレンタルさせてもらいました。セットアップは覚えてしまえばすごく簡単。キャリブレーションも数秒でおわるので、センサーの位置を間違ってつけたりしなければ数分でキャプチャできる状態までもってけます。長時間になると徐々にドリフトしちゃうという話もあるけど、今回みたいな短いパフォーマンスなら精度もまったく問題なし。
モーションを解析するパート(ここ、 Saqoosha がプログラム書いたとこ)は Unity で。MVN は別マシンの Windows で動いてるんだけど、そっから UDP で送られてくるデータをうけとって Unity 上のスケルトンに反映させて動き解析する。データ受け取ってスケルトンに反映させるってとこまでは、Asset がすでに用意されてるので自分でなにか書く必要はまったくなし。書いたのはほんとモーション解析とバズーカへの指示出しだけ。モーション解析は解析ってほど複雑なことはやってなくて(じつはそのせいで誤射多かったんだけど、、)頭と胸と手に RigidBody つけてそれぞれの当たり判定具合でいい感じに発射。
バズーカへの指示出しはラジコン用のプロポをつかってる。これはイベント会場がおそらく Wi-Fi がとびまくってて通信がかなり不安定になるだろうから別の帯域でやったほうがいいっていう TASKO さんの提案。数万人規模の会場でも問題なくいけたっていう実績もあるってことだったのでもちろん採用。ただプロポを PC からコントロールするってのは案外大変で、そっから解析してる余裕はなかったのでサーボで物理的にプロポのレバーを倒すっていうデジタルなんだかアナログなんだかよくわからない仕組みにw。この 「プロポをサーボで」以降の仕組みが TASKO さんにつくってもらったとこ。
バズーカはもともと T シャツバズーカ (PDF) として存在していたものをベースに、ガス充填とかトリガーとか薬莢排出とかってのを自動化させたもの。MVN もすげえんだけど、このバズーカがいちばんすげえ。ちょーメカかっこいい。この 1 回でお蔵入りさせんのはもったいないなー。



